欢迎来到河北华体会网索具集团官网!
服务热线:0312-8156666

您当前所在的位置:主页 > 产品中心 起重吊钳系列
LIFTING CLAMP SERIES
起重吊钳系列

横吊钢板起重吊钳L型

横吊钢板起重吊钳L型

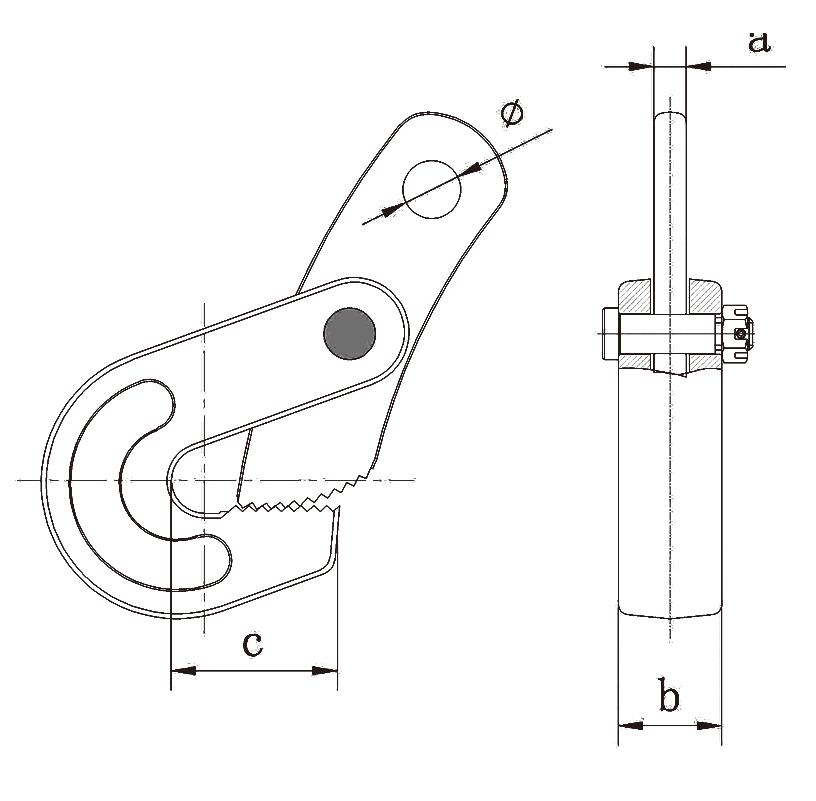
1、用途:适用于钢板水平吊装。 2、采用低碳合金钢模锻而成。 3、载荷范围:0-5吨。 4、以两只试验为额定载荷。吊装作业时两只或四只配套使用。钢板较大时加平衡梁。 5、试验载荷

全国咨询热线:400-0312-400

更多联系方式
-产品详情- -产品参数-
1、用途:适用于钢板水平吊装。
2、采用低碳合金钢模锻而成。
3、载荷范围:0-5吨。
4、以两只试验为额定载荷。吊装作业时两只或四只配套使用。钢板较大时加平衡梁。
5、试验载荷=额定载荷*2.5倍。
6、严禁超载使用,不得碰撞被吊物。
7、强韧耐久,易操作。

产品参数

相关产品

创造客户价值 助力客户成功

<华体会网>凭借着高新的技术、优异的品质及良好的服务赢得了客户点赞,在国内外众多企业大放异彩!

冀ICP备08100751号-1/冀公网安备 13060802000198号